| Launch:2019-07-26 |
* Introduction
With the development of science and technology, people are demanding more and more materials. Improving existing materials and preparing new high-performance materials have become the main tasks of scientists. Therefore, advanced research and testing methods need to be applied to the deep-seated research of various materials in order to inspect the microstructure of materials. Then the performance of the material is improved. Advanced research and testing methods are very important to the research of material science. Laser Raman spectroscopy, as a new testing method, will play an important role in promoting the progress of material science.
* Application
Application of Raman spectroscopy in characterization of graphene structure
Graphene is a two-dimensional hexagonal honeycomb-like atomic crystal with high conductivity and thermal conductivity, large theoretical specific surface area, high Young's modulus and tensile strength. Graphene is a new star in the family of carbon materials. It is expected to be used in micro-and nano-electronic devices, photoelectric detection and conversion materials. Composite materials and many other fields are widely used. Since the discovery of graphene, Raman spectroscopy has become the most important research method in the field of graphene because of its fast, nondestructive and high resolution.
Raman spectra of graphene with different layers are measured, as shown in Fig.1.
In graphene, if there is a defect, the D peak appears on the Raman spectrum. The intensity ratio of G peak to D peak is used to define the degree of defect. For example, Fig.2

Fig.1 Raman spectra of graphene with different layers
Fig.2 intensity ratio of 2D peak to G peak ID/IG
Raman spectroscopy shows that there is a linear correlation between the intensity of G peak and the intensity ratio of D peak to G peak. Raman spectroscopy can be used to characterize the layers and defects of graphene.
Raman spectra of two different stacking modes of graphene are shown, as shown in Figure 3.

(a)G peak contrast (b)G’peak contrast
Fig.3 Raman spectra of G and G'peaks in two stacking modes of ABC and ABA.
Graphene with different stacking modes is different in G peak and G' peak. Raman spectroscopy can identify different stacking modes of graphene.
Raman spectroscopy plays an important role in the characterization of graphene. It can also be used to detect the chirality of graphene edges, doping, temperature and pressure.
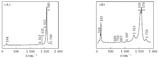
Raman spectra of single walled carbon nanotubes at different excitation wavelengths
Since the single-walled carbon nanotubes (SWCNTs) were synthesized, they have attracted much attention due to their unique physical properties and broad application prospects. Raman spectroscopy is one of the powerful means to study single-walled carbon nanotubes, which is of great significance to understand the structure and physical properties of carbon nanotubes.
The excitation wavelengths of 457.5 nm and 632.8 nm were used to detect them. The normal and resonant Raman spectra were measured at 457.5 nm and 632.8 nm, respectively. The radial breathing mode, located near 160cm-1 in the low frequency region, is the vibration mode of single-walled carbon nanotubes. It can be used to judge whether there is single-walled carbon nanotubes and its diameter. The diameter distribution range is obtained according to the radial breathing mode frequency shift at different wavelengths. For example, figure 4
Fig.4 Raman spectrum at different wavelengths (A is 457.5nm, B is 632.8nm).
It is known that 164 cm-1 at 457.5 nm wavelength is a radial breathing mode, and the diameter range can be inferred from the relationship between frequency shift of radial breathing mode and diameter "
".
At present, Raman spectroscopy has been applied to the study of materials science. A large number of researchers have used Raman spectroscopy to study the micro-and nano-structures of materials. Because of its fast, non-destructive and high sensitivity, the application of Raman spectroscopy in the field of materials science will be more and more extensive with the development of technology and equipment, and it will be applied to new materials. Research plays a major role.
Reference:
Application of Raman spectroscopy in graphene structural characterization, Juanxia Wu et al
Raman spectroscopy of single-walled carbon nanotubes at different excitation wavelengths, Lintao Chen et al

